Skip to content

Học tập lớp 12

  • Trắc nghiệm Holland
  • Tính điểm xét tuyển
  • Danh sách trường Đại học
  • Kết quả bài thi

Học tập lớp 12

  • Home » 
  • Hóa học Lớp 11

Giải SBT Hóa 11 Bài 12 (Kết nối tri thức): Công thức phân tử hợp chất hữu cơ

By Admin Lop12.com 23/02/2026 0

Giải SBT Hóa học 11 Bài 12: Công thức phân tử hợp chất hữu cơ

Giải SBT Hóa học 11 trang 45

Bài 12.1 trang 45 Sách bài tập Hóa học 11: Công thức phân tử cho biết thông tin nào sau đây về phân tử hợp chất hữu cơ?

A. Thành phần nguyên tố và số lượng nguyên tử của mỗi nguyên tố.

B. Thành phần nguyên tố và tỉ lệ số lượng nguyên tử của mỗi nguyên tố.

C. Số lượng nguyên tử mỗi nguyên tố và trật tự liên kết giữa các nguyên tử.

D. Tỉ lệ số lượng nguyên tử của mỗi nguyên tố và trật tự liên kết giữa các nguyên tử.

Lời giải:

Đáp án đúng là: A

Công thức phân tử cho biết thành phần nguyên tố và số lượng nguyên tử của mỗi nguyên tố.

Bài 12.2 trang 45 Sách bài tập Hóa học 11: Công thức nào sau đây là công thức phân tử của acetic acid?

A. CH3-COOH.

B. C2H4O2.

C. CH2O.

D. CxHyO­2.

Lời giải:

Đáp án đúng là: B

Công thức phân tử của acetic acid là C2H4O2.

Bài 12.3 trang 45 Sách bài tập Hóa học 11: Công thức phân tử của methyl formate và glucose lần lượt là C2H4O2 và C6H12O6. Công thức đơn giản nhất của hai chất này là

A. CH2O.

B. C2H4O2.

C. C4H8O4.

D. C6H12O6.

Lời giải:

Đáp án đúng là: A

Công thức đơn giản nhất của hai chất này là CH2O.

Giải SBT Hóa học 11 trang 46

Bài 12.4 trang 46 Sách bài tập Hóa học 11: Trong phương pháp phổ khối lượng, đối với các hợp chất đơn giản, thường mảnh có giá trị m/z lớn nhất ứng với mảnh ion phân tử [M+] và giá trị này bằng giá trị …… của chất nghiên cứu. Cụm từ thích hợp điền vào chỗ trống là.

A. phân tử khối.

B. nguyên tử khối.

C. điện tích ion.

D. khối lượng.

Lời giải:

Đáp án đúng là: A

Trong phương pháp phổ khối lượng, đối với các hợp chất đơn giản, thường mảnh có giá trị m/z lớn nhất ứng với mảnh ion phân tử [M+] và giá trị này bằng giá trị phân tử khối của chất nghiên cứu.

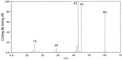
Bài 12.5 trang 46 Sách bài tập Hóa học 11: Hình sau đây là phổ khối lượng của phân tử acetic acid.

Hình sau đây là phổ khối lượng của phân tử acetic acid

Phân tử khối của acetic acid bằng

A. 43.

B. 45.

C. 60.

D. 29.

Lời giải:

Đáp án đúng là: C

Từ phổ khối lượng cho biết phân tử khối của acetic acid là 60 g/mol.

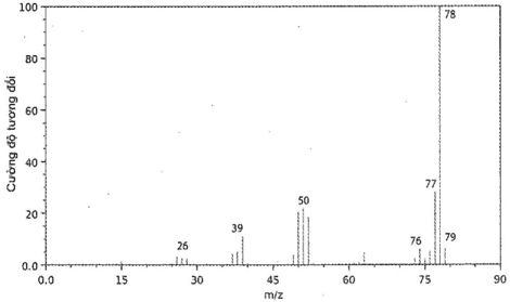
Bài 12.6 trang 46 Sách bài tập Hóa học 11: Hình sau đây là phổ khối lượng của phân tử benzene.

Hình sau đây là phổ khối lượng của phân tử benzene

Phân tử khối của benzene bằng

A. 76.

B. 77.

C. 78.

D. 79.

Lời giải:

Đáp án đúng là: C

Từ phổ khối lượng cho biết phân tử khối của bezene là 78 g/mol.

Giải SBT Hóa học 11 trang 47

Bài 12.7 trang 47 Sách bài tập Hóa học 11: Một hợp chất hữu cơ A chứa 32% C, 4% H và 64% O về khối lượng. Biết một phân tử A có 6 nguyên tử oxygen, công thức phân tử của A là

A. C2H3O3.

B. C4H6O6.

C. C6H12O6.

D. C6H4O6.

Lời giải:

Đáp án đúng là: B

Đặt công thức phân tử của A: CxHyOz.

Tỉ lệ mol các nguyên tố:

x:y:z=3212:41:6416=2,67:4:4=2:3:3

Công thức thực nghiệm của chất A là C2H3O3.

Vì một phân tử A có 6 nguyên tử oxygen, nên công thức phân tử của A là C4H6O6.

Bài 12.8 trang 47 Sách bài tập Hóa học 11: Một hợp chất hữu cơ X chứa 37,5% C, 3,2% H và 59,3% F về khối lượng. Cho bay hơi 1,00 g chất này tại 90oC với áp suất 0,50 bar thì thể tích thu được là 0,93 L. Xác định công thức phân tử của X.

Lời giải:

Đặt công thức phân tử của X: CxHyFz.

Tỉ lệ mol các nguyên tố:

x:y:z=37,5%12:3,2%1:59,3%16=3,12:3,17:3,12=1:1:1

Công thức thực nghiệm của chất này là CHF.

nx = 0,0156 mol.

Khối lượng mol của phân tử X:

10,0156=64,1≈64 (g/mol).

⇒ Công thức phân tử của X là C2H2F2.

Bài 12.9 trang 47 Sách bài tập Hóa học 11: Vitamin C (ascorbic acid) chứa 40,92% C, 4,58% H và 54,50% O về khối lượng. Hình sau đây là phổ khối lượng của ascorbic acid:

Vitamin C ascorbic acid chứa 40,92% C 4,58% H và 54,50% O về khối lượng Hình sau đây là phổ khối lượng của ascorbic acid

Xác định công thức thực nghiệm và công thức phân tử của ascorbic acid.

Lời giải:

Đặt công thức phân tử vitamin C là: CxHyOz.

Tỉ lệ mol các nguyên tố:

x:y:z=40,92%12:4,58%1:54,50%16=3,407:4,544:3,406=3:4:3

Công thức thực nghiệm của ascorbic acid là C3H4O3.

Phổ khối lượng của ascorbic acid cho thấy phân tử khối của ascorbic acid bằng 176.

Công thức phân tử của ascorbic acid là C6H8O6.

Bài 12.10 trang 47 Sách bài tập Hóa học 11: Đốt cháy 20,63 mg hợp chất Y, chỉ chứa C, H và O, bằng lượng dư khí oxygen tạo 57,94 mg CO2 và 11,85 mg H2O.
a) Tính khối lượng (theo mg) của C, H và O trong hợp chất Y.
b) Xác định công thức thực nghiệm của Y.
c) Dựa trên phổ khối lượng của Y như hình cho dưới đây, xác định công thức phân tử của Y.

Đốt cháy 20,63 mg hợp chất Y  chỉ chứa C H và O bằng lượng dư khí oxygen tạo 57,94 mg CO2 và 11,85 mg H2O

Lời giải:

a) Khối lượng các nguyên tố:

mC=57,94.1244=15,81 (mg)mH=11,85.218=1,326 (mg)mO=20,630−15,810−1,326=3,494 (mg).

b) Tỉ lệ mol các nguyên tố:

nC:nH:nO=15,81012:1,3261:3,49416=1,32:1,32:0,218=6:6:1

Công thức thực nghiệm của Y là C6H6O.

c) Phổ khối lượng của chất Y cho thấy phân tử khối của chất Y bằng 94.

Công thức phân tử của Y là C6H6O.

Xem thêm các bài giải SBT Hóa học lớp 11 Kết nối tri thức hay, chi tiết khác:

Bài 11: Phương pháp tách biệt và tinh chế hợp chất hữu cơ

Bài 12: Công thức phân tử hợp chất hữu cơ

Bài 13: Cấu tạo hoá học hợp chất hữu cơ

Bài 14: Ôn tập chương 3

Bài 15: Alkane

Bài 16: Hydrocarbon không no

Lý thuyết Công thức phân tử hợp chất hữu cơ

1. Công thức phân tử 

a. Khái niệm 

Công thức phân tử cho biết thành phần nguyên tố và số lượng nguyên tử của mỗi nguyên tố trong phân tử.

b. Cách biểu diễn công thức phân tử hợp chất hữu cơ 

* Công thức tổng quát: cho biết các nguyên tố có trong phân tử hợp chất hữu cơ. 

Ví dụ: CxHyOz (x, y, z là các số nguyên dương) cho biết phân tử chất hữu cơ đã cho chứa ba nguyên tố C, H và O.

* Công thức đơn giản nhất: cho biết tỉ lệ số nguyên tử của các nguyên tố có trong phân tử hợp chất hữu cơ (tỉ lệ các số nguyên tối giản). 

Ví dụ: Hợp chất có công thức phân tử là C2H4O2 thì công thức đơn giản nhất là CH2O.

2. Lập công thức phân tử hợp chất hữu cơ 

a. Xác định phân tử khối bằng phương pháp phổ khối lượng 

Phương pháp phổ khối lượng được sử dụng để xác định khối lượng phân tử các hợp chất hữu cơ. 

b. Lập công thức phân tử hợp chất hữu cơ 

Một hợp chất hữu cơ có công thức phân tử là CxHyOz. Thiết lập công thức đơn giản nhất bằng cách lập tỉ lệ x : y : z ở dạng số nguyên tối giản p : q : t. 

Mối quan hệ giữa công thức phân tử và công thức đơn giản nhất:

CxHyOz = (CpHqOt)n

Trong đó: p, q r là các số nguyên tối giản, x, y, z, n là số nguyên dương. Khi biết phân tử khối, xác định được giá trị n, từ đó suy ra công thức phân tử.

Tags : Tags Giải SBT Hóa học 11
Share
facebookShare on Facebook

Bài liên quan

Giải SGK Hóa học 11 Bài 15 (Kết nối tri thức): Alkane

Giải SBT Hóa 11 Bài 6 (Kết nối tri thức): Một số hợp chất của nitrogen với oxygen

Giải SBT Hóa 11 Bài 23 (Kết nối tri thức): Hợp chất carbonyl

15 câu Trắc nghiệm Cân bằng trong dung dịch nước (Kết nối tri thức 2025) có đáp án – Hóa học lớp 11

15 câu Trắc nghiệm Ôn tập chương 4 (Kết nối tri thức 2025) có đáp án – Hóa học lớp 11

Giải SGK Hóa học 11 Bài 16 (Kết nối tri thức): Hydrocarbon không no

Giải SBT Hóa 11 Bài 7 (Kết nối tri thức): Sulfur và sulfur dioxide

Giải SBT Hóa 11 Bài 24 (Kết nối tri thức): Carboxylic acid

0 Góp ý
Phản hồi nội tuyến
Xem tất cả bình luận

Mục lục

  1. Giải SGK Hóa học 11 Bài 1 (Kết nối tri thức): Khái niệm về cân bằng hoá học
  2. Giải SGK Hóa học 11 Bài 2 (Kết nối tri thức): Cân bằng trong dung dịch nước
  3. Giải SGK Hóa học 11 Bài 3 (Kết nối tri thức): Ôn tập chương 1
  4. Giải SGK Hóa học 11 Bài 4 (Kết nối tri thức): Nitrogen
  5. Giải SGK Hóa học 11 Bài 5 (Kết nối tri thức): Ammonia. Muối ammonium
  6. Giải SGK Hóa học 11 Bài 6 (Kết nối tri thức): Một số hợp chất của nitrogen với oxygen
  7. Giải SGK Hóa học 11 Bài 7 (Kết nối tri thức): Sulfur và sulfur dioxide
  8. Giải SGK Hóa học 11 Bài 8 (Kết nối tri thức): Sulfuric acid và muối sulfate
  9. Giải SGK Hóa học 11 Bài 9 (Kết nối tri thức): Ôn tập chương 2
  10. Giải SGK Hóa học 11 Bài 10 (Kết nối tri thức): Hợp chất hữu cơ và hoá học hữu cơ
  11. Giải SGK Hóa học 11 Bài 11 (Kết nối tri thức): Phương pháp tách biệt và tinh chế hợp chất hữu cơ
  12. Giải SGK Hóa học 11 Bài 12 (Kết nối tri thức): Công thức phân tử hợp chất hữu cơ
  13. Giải SGK Hóa học 11 Bài 13 (Kết nối tri thức): Cấu tạo hoá học hợp chất hữu cơ
  14. Giải SGK Hóa học 11 Bài 14 (Kết nối tri thức): Ôn tập chương 3
  15. Giải SGK Hóa học 11 Bài 15 (Kết nối tri thức): Alkane
  16. Giải SGK Hóa học 11 Bài 16 (Kết nối tri thức): Hydrocarbon không no
  17. Giải SGK Hóa học 11 Bài 17 (Kết nối tri thức): Arene (Hydrocarbon thơm)
  18. Giải SGK Hóa học 11 Bài 18 (Kết nối tri thức): Ôn tập chương 4
  19. Giải SGK Hóa học 11 Bài 19 (Kết nối tri thức): Dẫn xuất halogen
  20. Giải SGK Hóa học 11 Bài 20 (Kết nối tri thức): Alcohol

Copyright © 2026 Học tập lớp 12 - Sách Toán - Học Tập AI
  • Sitemap
  • Chính sách
  • Giới thiệu
  • Hướng dẫn
  • Kết quả
  • Liên hệ
Back to Top
Menu
  • Sitemap
  • Chính sách
  • Giới thiệu
  • Hướng dẫn
  • Kết quả
  • Liên hệ
wpDiscuz